|
带液压动力包的UB型摆动液压缸结构外形 |
||||||||||||
|
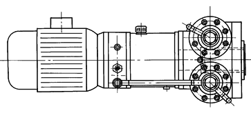
带液压动力包的法兰式轴输出单齿条型 |
带液压动力包的法兰式轴输出双齿条型 |
|||||||||||
|
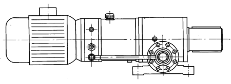
带液压动力包的法兰式孔输出单齿条型 |
带液压动力包的法兰式孔输出双齿条型 |
|||||||||||
|
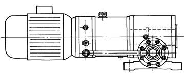
带液压动力包的脚架式轴输出单齿条型 |
带液压动力包的脚架式轴输出双齿条型 |
|||||||||||
|
带液压动力包的脚架式孔输出单齿条型 |
带液压动力包的脚架式孔输出双齿条型 |
|||||||||||
|
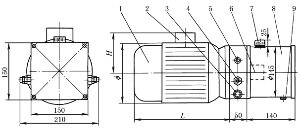
1—电动机;2—接线盒;3—油口;4—溢流阀;5—单向阀;6—液压泵;7—加油口;8—油箱;9—泄油堵 液压动力包工作环境温度应不高于80℃。改变电动机的相位,可实现UB型摆动液压缸的往复摆动。分别调节液压动力包上的两只溢流阀,还可实现UB型摆动液压缸正反向旋转具有不同的输出转矩 |
||||||||||||
|
液压动力包型号 |
P01 |
P02 |
P03 |
P04 |
P05 |
P06 |
P07 |
P08 |
P09 |
P10 |
P11 |
|
|
流量/L·min-1 |
1.5 |
2 |
2.8 |
3.5 |
4.2 |
5 |
5.7 |
7 |
8.2 |
10 |
14 |
|
|
三 相 交 流 电 动 机 |
功率/kW |
0.55 |
0.75 |
1.1 |
1.5 |
2 |
2.2 |
3 |
4 |
|||
|
转速/r·min-1 |
1400 |
1420 |
1440 |
|||||||||
|
f/mm |
165 |
165 |
180 |
180 |
180 |
220 |
220 |
240 |
||||
|
H/mm |
120 |
120 |
130 |
130 |
130 |
180 |
180 |
190 |
||||
|
L/mm |
275 |
275 |
280 |
305 |
310 |
370 |
370 |
380 |
||||
|
质量/kg |
27 |
28 |
32 |
35 |
40 |
48 |
52 |
83 |
||||
|
注:UB型摆动液压缸本体部分尺寸见前面相应各型尺寸表。 |
||||||||||||