|
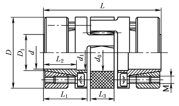
LMX-Z 胀套式梅花联轴器 |
|||||||||||
|
|
|||||||||||
|
LMX-Zn 型联轴器基本参数和主要尺寸 |
|||||||||||
|
规格 |
14 |
16 |
19 |
24 |
25 |
35 |
40 |
42 |
45 |
50 |
|
|
额定转矩 /N·m |
7.5 |
5 |
10 |
17 |
35 |
95 |
190 |
265 |
310 |
410 |
|
|
最高转速 /r·min-1 |
19000 |
14000 |
14000 |
10600 |
10600 |
8500 |
7100 |
6000 |
5600 |
5000 |
|
|
转动惯量 ×10-6/kg·m2 |
11 |
37 |
46 |
136 |
201 |
438 |
1325 |
3003 |
5043 |
10020 |
|
|
主要尺寸 /mm |
d |
14 |
16 |
19 |
24 |
25 |
35 |
40 |
42 |
45 |
50 |
|
D |
32 |
37.5 |
50 |
50 |
55 |
65 |
80 |
95 |
105 |
120 |
|
|
D1 |
17 |
20 |
23 |
28 |
30 |
40 |
46 |
52 |
52 |
55 |
|
|
d0 |
10.5 |
18 |
18 |
27 |
30 |
38 |
46 |
51 |
60 |
68 |
|
|
d1 |
17 |
19 |
22 |
29 |
30 |
40 |
46 |
55 |
60 |
72 |
|
|
L |
50 |
66 |
66 |
78 |
78 |
90 |
114 |
126 |
140 |
160 |
|
|
L1 |
18.5 |
25 |
25 |
30 |
30 |
35 |
45 |
50 |
56 |
65 |
|
|
L2 |
15.5 |
21 |
21 |
25 |
25 |
30 |
40 |
45 |
50 |
58 |
|
|
L3 |
10 |
12 |
12 |
14 |
14 |
15 |
18 |
20 |
21 |
22 |
|
|
螺钉 |
型号 |
4-M3 |
6-M4 |
4-M5 |
8-M5 |
8-M6 |
4-M8 |
4-M10 |
|||
|
拧紧 力矩 MA/ N·m |
1.89 |
3.05 |
8.5 |
14 |
35 |
69 |
|||||
|
质量/kg |
0.08 |
0.16 |
0.19 |
0.33 |
0.44 |
0.64 |
1.32 |
2.23 |
3.09 |
4.74 |
|
|
注:1.其中 d 为最大尺寸值。 2.梅花弹性体的形状与LMX型相同。 3.生产厂家为北京古德高机电技术有限公司。该公司还生产LMX-Zw型胀套式梅花联轴器。 |
|||||||||||