|
SWC 型万向联轴器与相配件的连接尺寸及螺栓预紧力矩 |
||||||||||||||
|
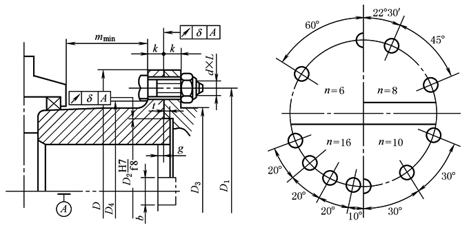
万向联轴器通过高强度螺栓及螺母把两端的法兰连接在其他相配件上,其相配件的连接尺寸及螺栓预紧力矩按下表的规定。 连接螺栓从相配件的法兰侧装入,螺母由另一侧预紧,其螺栓的力学性能为10.9级;螺母的力学性能为10级。
|
||||||||||||||
|
型 号 |
回转 直径 D |
螺栓 数 n |
螺栓规格 d×L |
预紧 力矩 Ta |
D1 (js11) |
D2 (f8) |
D3 |
|
k |
b (js8) |
|
t |
δ |
mmin |
|
mm |
mm |
N·m |
mm |
|||||||||||
|
SWC 100 |
100 |
6 |
M8×25 |
32 |
84 |
57 |
— |
70.5 |
7 |
— |
— |
|
0.05 |
30.5 |
|
SWC 120 |
120 |
8 |
M10×30 |
64 |
102 |
75 |
— |
84.0 |
8 |
— |
— |
|
0.05 |
36.8 |
|
SWC 150 |
150 |
8 |
M12×40 |
111 |
130 |
90 |
— |
110.3 |
10 |
— |
— |
|
0.05 |
40.8 |
|
SWC 180 |
180 |
8 |
M16×60 |
270 |
155 |
105 |
128 |
130.5 |
17 |
— |
— |
|
0.06 |
70.5 |
|
SWC 225 |
225 |
8 |
M16×65 |
270 |
196 |
135 |
159 |
171 |
20 |
32 |
9.5 |
|
0.06 |
75.5 |
|
SWC 250 |
250 |
8 |
M18×75 |
372 |
218 |
150 |
176 |
190 |
25 |
40 |
13.0 |
|
0.06 |
87.0 |
|
SWC 285 |
285 |
8 |
M20×80 |
526 |
245 |
170 |
199 |
214 |
27 |
40 |
15.5 |
|
0.06 |
93.0 |
|
SWC 315 |
315 |
10 |
M22×95 |
710 |
280 |
185 |
231 |
247 |
32 |
40 |
15.5 |
|
0.06 |
109.5 |
|
SWC 350 |
350 |
10 |
M22×100 |
710 |
310 |
210 |
261 |
277 |
35 |
50 |
16.5 |
|
0.06 |
114.5 |
|
SWC 390 |
390 |
10 |
M24×120 |
906 |
345 |
235 |
290 |
308 |
40 |
70 |
18.5 |
|
0.06 |
135.5 |
|
SWC 440 |
440 |
16 |
M27×120 |
1340 |
390 |
255 |
325 |
347 |
42 |
80 |
20.5 |
|
0.1 |
137.5 |
|
SWC 490 |
490 |
16 |
M30×140 |
1820 |
435 |
275 |
360 |
387 |
47 |
90 |
23.0 |
|
0.1 |
159.5 |
|
SWC 550 |
550 |
16 |
M30×140 |
1820 |
492 |
320 |
420 |
444 |
50 |
100 |
23.0 |
|
0.1 |
159.5 |
|
SWC 620 |
620 |
10 |
M36×160 |
3170 |
555 |
380 |
468 |
498 |
55 |
100 |
25.5 |
|
0.1 |
183.0 |